Jak si vybrat bezpečnostní kování
Rozteč zámků - vzdálenost osy otáčení kliky k ose cylindrické vložky (klíče ve vložce). Nejčastěji používané rozteče zámků jsou 90 mm, 72 mm a 92 mm na plastové a profilové dveře.

Tloušťka dveří
Tento rozměr je pro jednotlivé typy bezpečnostního kování stanoven v podobě intervalu. V standardním provedení je kování určeno na tloušťku dveří 38-55 mm. V případě větší tloušťky dveří nabízíme k zakoupení tzv. prodlužovací sadu, t.j. sadu montážního spojovacího materiálu na požadovanou tloušťku dveří a typ kování. Přehled spojovacího materiálu naleznete v našem obchodě.
Cylindrická vložka s bezpečnostním krytem anebo bez krytu?
Bezpečnostní kryt chrání vložku před odvrtáním a vylomením. Při volbě kování s bezpečnostním krytem dbejte při výběru vložky na její rozměr - délku. Cylindrická vložka musí přečnívat nad plochu dveří pod bezpečnostním štítem 11 - 16 mm. Jinak by vložka byla schovaná příliš hluboko pod bezpečnostním krytem a nepodařilo by se vám klíč při odemykání zasunout až na doraz.
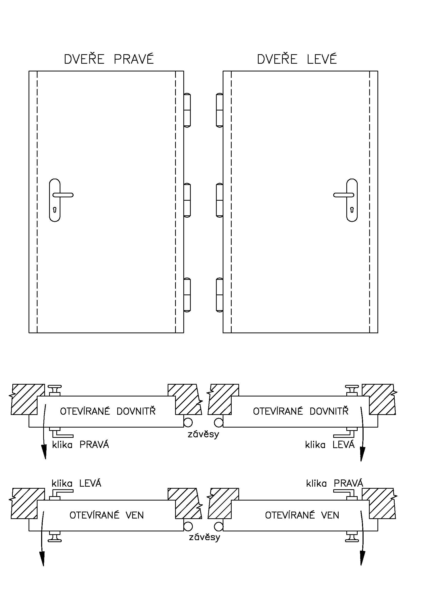
Co je pravá a levá klika?
U asymetrických klik, které není možné namontovat na obě strany dveří je potřeba rozlišovat stranovou orientaci kliky.
Všechna bezpečnostní kování jsou certifikována dle platných evropských norem a zkoušena v akreditovaných zkušebnách. Kování jsou rozděleny do 3 bezpečnostních tříd. Volba bezpečnostní třídy (Pyramida bezpečnosti) závisí na účelu použití a bezpečnostní třídy dveří.

Zajistíme vám odbornou instalaci kliky
Nejste technický typ? Máte obavy z instalace? Kliky v rukou – bez obav!
Často se setkáváme s obavami našich zákazníků ohledně instalace chytré kliky. Uvědomujeme si, že ne každý má technické dovednosti nebo potřebné nářadí. Někdy se také objeví strach, že si při pokusu o instalaci kliky poškodí nové dveře, nebo jednoduše na to není čas.
Nebojte se. Instalaci zajistíme za vás.
• Instalaci provádíme prostřednictvím profesionálně proškolených partnerů.
• S našimi proškolenými partnery máte jistotu správně provedené instalace.
• Naši partneři nejen instalují, ale také vám rádi předvedou všechny funkce našich klik.
• V případě potřeby nabízíme také pozáruční servis ve spolupráci s našimi partnery.